技术文章
TECHNICAL ARTICLES
更新时间:2025-10-07
点击次数:699
潜水泵耦合器功能介绍
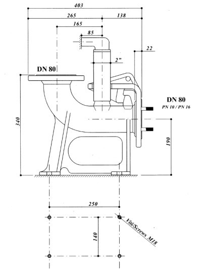
耦合器是潜污泵的一种安装方式,包含底座、自耦架、导杆、导杆支座等,池底固定耦合架,竖直安装两根导杆,可以方便的将泵提起和放下,而不用在池底安装泵,潜水泵的出口能和排出管自动锁紧,不需要螺栓连接,到位置后自动耦合,从而实现简单、方便的效果。需要维修时将泵提起即可,不用维修人员进入水池。

一 自耦装置简介
自耦装置是一种潜水电泵出水法兰与出水管路系统自动对接的装置。在附加耦合法兰和出水管座进口法兰的上方有一对楔卡,在附加耦合法兰和出水管座进口法兰的下方还有一对楔卡,在出水管座进口法兰下方的一个楔卡是用弹性钢板固定在出水管座进口法兰的下方。
当潜水泵从水坑上方降落时,附加耦合法兰上方的楔卡和出水管座进口法兰上方的楔卡先卡到一起,在潜水电泵自重和楔卡斜面的作用下,两个法兰面将会贴在一起,在附加耦合法兰和出水管座进口法兰下方的一对楔卡也会在弹性钢板的作用下自动卡到一起。可以在方便潜水电泵自动装拆的同时,解决耦合的两个法兰之间大量漏水的问题,从而节约能源。
二 自耦装置安装
自动耦合式潜污泵安装主要是耦合装置的安装和泵的吊装。安装前在潜水泵吊环上系上链锁,供起吊和下泵之用。
耦合装置的安装步骤:
耦合架用四个螺栓固定于泵体;出水管固定于基底;定位锥体安装于出水管座;导管下端套在定位锥体上,上端套在导杆架的橡胶块上;最后将导杆架固定于水池壁。橡胶块的作用:用导杆架上的螺钉调节橡胶块的轴向压紧程度,使橡胶块的直径与导杆内径相吻合,让导杆稳定。
潜水泵自动耦合装置安装步骤:
起吊水泵,将耦合架上的导向孔对准导杆,徐徐放下吊索,使泵沿导杆自由下滑,泵体出口与出水管座口即自动对准;松开吊索,在泵的自重作用下,使耦合架上的斜面与出水管座上相对应的斜面楔紧,泵体法兰面与出水管座密封面即可紧密贴合,实现泵和出水管座的自动耦合。需要起吊时,只需拉起吊索,使泵和耦合架与出水管脱开,将泵与耦合架沿导杆拉升即可。
江苏杜安环保潜污泵自动耦合安装说明:
潜污泵一般采用自动耦合(以下简称自耦)方式安装,自耦安装系统主要由快速接口、排水底座、导轨、导轨定位支架等组成。安装时,泵体和快速接口通过螺栓紧密连接在一起,排水底座先通过地脚螺栓固定在水池内,快速接口带动泵沿导轨滑下,和排水底座通过自耦密封面自动耦合装在一起。安装好以后,整个泵体和电动机部分依靠泵体出口法兰和进口法兰连接在一起,潜污泵的出口和自耦底座的联接口之间有橡胶密封圈密封,潜污泵通过自耦系统悬挂在空中,并利用自身的重量将密封圈压紧,确保管道间的密封可靠。
潜污泵自耦装置结构形式
所有的自动耦合装置的结构都一样,通过导轨的输送将水泵准确地输送到安装位置,通过水泵自身的重量将水泵的出水口与排水底座的自耦联接口相连接并压紧。虽然基本结构一样,但从细节上看,国内的厂家耦合装置的设计与国外的产品相比,还有一定的差距。国外的耦合装置强度更大,结构更结实,耦合和脱离时更轻松,管道之间的密封更可靠。
国外的自动耦合系统采用的是双导轨装置和一个导爪式定位装置,可将水泵平稳地导引至底座的安装支架上。在安装和拆卸的过程中,由于两条导轨的位置被充分地分开,使得在泵的安装和拆卸的过程中的定位变得非常的方便和平稳。对于一些特殊危险环境中的要求,还提供有防爆特性的导爪。为了确保可靠、无泄漏的安装,采用可替换的弹性密封圈密封底座支架与泵之间的连接,每当水泵被拉出来检修的时候,这种密封圈就可以十分简便地进行更换,并且成本非常低。当水泵放置到位时,连接着水泵的导爪通过与支架之间的旋转支撑可以非常方便和可靠地帮助水泵落实到位。支架与导爪的契合面可非常稳定地啮合。因此自动耦合装置能够使水泵安装更牢固,避免了水泵的倾斜、泄露和不当的振动。而且在水泵需要被移除时,能够轻松、可靠地拆卸。

潜水泵自耦装置订货须知:
一、a.产品名称与自动耦合装置型号
b.自动耦合装置口径
c.自
潜污泵耦合器产品说明
耦合器是潜污泵的一种安装方式,包含底座、自耦架、导杆、导杆支座等,池底固定耦合架,竖直安装两根导杆,可以方便的将泵提起和放下,而不用在池底安装泵,潜水泵的出口能和排出管自动锁紧,不需要螺栓连接,到位置后自动耦合,从而实现简单、方便的效果。需要维修时将泵提起即可,不用维修人员进入水池。
一 自耦装置简介
自耦装置是一种潜水电泵出水法兰与出水管路系统自动对接的装置。在附加耦合法兰和出水管座进口法兰的上方有一对楔卡,在附加耦合法兰和出水管座进口法兰的下方还有一对楔卡,在出水管座进口法兰下方的一个楔卡是用弹性钢板固定在出水管座进口法兰的下方。
当潜水泵从水坑上方降落时,附加耦合法兰上方的楔卡和出水管座进口法兰上方的楔卡先卡到一起,在潜水电泵自重和楔卡斜面的作用下,两个法兰面将会贴在一起,在附加耦合法兰和出水管座进口法兰下方的一对楔卡也会在弹性钢板的作用下自动卡到一起。可以在方便潜水电泵自动装拆的同时,解决耦合的两个法兰之间大量漏水的问题,从而节约能源。
二 自耦装置安装
自动耦合式潜污泵安装主要是耦合装置的安装和泵的吊装。安装前在潜水泵吊环上系上链锁,供起吊和下泵之用。
耦合装置的安装步骤:
耦合架用四个螺栓固定于泵体;出水管固定于基底;定位锥体安装于出水管座;导管下端套在定位锥体上,上端套在导杆架的橡胶块上;最后将导杆架固定于水池壁。橡胶块的作用:用导杆架上的螺钉调节橡胶块的轴向压紧程度,使橡胶块的直径与导杆内径相吻合,让导杆稳定。
潜水泵自动耦合装置安装步骤:
起吊水泵,将耦合架上的导向孔对准导杆,徐徐放下吊索,使泵沿导杆自由下滑,泵体出口与出水管座口即自动对准;松开吊索,在泵的自重作用下,使耦合架上的斜面与出水管座上相对应的斜面楔紧,泵体法兰面与出水管座密封面即可紧密贴合,实现泵和出水管座的自动耦合。需要起吊时,只需拉起吊索,使泵和耦合架与出水管脱开,将泵与耦合架沿导杆拉升即可。
江苏杜安环保潜污泵自动耦合安装说明:
潜污泵一般采用自动耦合(以下简称自耦)方式安装,自耦安装系统主要由快速接口、排水底座、导轨、导轨定位支架等组成。安装时,泵体和快速接口通过螺栓紧密连接在一起,排水底座先通过地脚螺栓固定在水池内,快速接口带动泵沿导轨滑下,和排水底座通过自耦密封面自动耦合装在一起。安装好以后,整个泵体和电动机部分依靠泵体出口法兰和进口法兰连接在一起,潜污泵的出口和自耦底座的联接口之间有橡胶密封圈密封,潜污泵通过自耦系统悬挂在空中,并利用自身的重量将密封圈压紧,确保管道间的密封可靠。
潜污泵自耦装置结构形式
所有的自动耦合装置的结构都一样,通过导轨的输送将水泵准确地输送到安装位置,通过水泵自身的重量将水泵的出水口与排水底座的自耦联接口相连接并压紧。虽然基本结构一样,但从细节上看,国内的厂家耦合装置的设计与国外的产品相比,还有一定的差距。国外的耦合装置强度更大,结构更结实,耦合和脱离时更轻松,管道之间的密封更可靠。
国外的自动耦合系统采用的是双导轨装置和一个导爪式定位装置,可将水泵平稳地导引至底座的安装支架上。在安装和拆卸的过程中,由于两条导轨的位置被充分地分开,使得在泵的安装和拆卸的过程中的定位变得非常的方便和平稳。对于一些特殊危险环境中的要求,还提供有防爆特性的导爪。为了确保可靠、无泄漏的安装,采用可替换的弹性密封圈密封底座支架与泵之间的连接,每当水泵被拉出来检修的时候,这种密封圈就可以十分简便地进行更换,并且成本非常低。当水泵放置到位时,连接着水泵的导爪通过与支架之间的旋转支撑可以非常方便和可靠地帮助水泵落实到位。支架与导爪的契合面可非常稳定地啮合。因此自动耦合装置能够使水泵安装更牢固,避免了水泵的倾斜、泄露和不当的振动。而且在水泵需要被移除时,能够轻松、可靠地拆卸。

潜水泵自耦装置订货须知:
a.产品名称与自动耦合装置型号
b.自动耦合装置口径
c.自动耦合装置扬程(m)
d.自动耦合装置流量
e.自动耦合装置电机功率(KW)
f.自动耦合装置转速(r/min)
g.自动耦合装置电压〔V〕
h.自动耦合装置吸程(m)
i.自动耦合装置使用的介质名称、比重、粘度、腐蚀性、毒性
二、若已经由设计单位选定我公司的自动耦合装置产品型号,请按自动耦合装置型号直接向我们南京蓝深泵业订购。
三、当使用的场合非常重要或环境比较复杂时,请您尽量提供设计图纸和详细参数,由我们江苏杜安环保技术人员为您审核把关。




扫码加微信
服务热线
六合区雄州工业园区腾飞路10-11号
63582753@qq.com
Copyright © 2026杜安环保设备(江苏)有限公司 All Rights Reserved 备案号:苏ICP备2024109432号-3
技术支持:化工仪器网 管理登录 sitemap.xml